man-working-on-laptop-computer-PCSRKFV.jpg
 
 

ATTRACT   DETECT   ELIMINATE MOnitor 

The Marlynn system and device are products that not only attract termites, but will also direct the termites to the active ingredient and monitor them from remote locations like a high tech security system. We are now capable of exploiting the termite's weakness because we know their habits, their likes and dislikes. Our products are and methods are fully covered under federal patent laws, both within the United States and Patent Internationally under the PCT filing.

 

a true breakthrough in termite control technology.

  • Attract insects by utilizing a heating element, vibrator, electromagnetic energy, moisture, lights, gas, pheromones, cellulose and more

  • Detect presence of insects utilizing a thermal camera, gas sensor, microphone, motion detector, pheromones and more

  • Directing insects into the system by utilizing directional wings, walls and borders and more

  • Data collection utilizing time, temperature, humidity, pressure, moon phases, date, hydrometer, rain gauges and more

  • Repels unwanted pest and kills targeted insects

  • The system utilizes a USB ports, GPS and can relay information wirelessly to mobile devices for monitoring and adjustments

  • The system takes advantage of 5G and glass batteries, a solid-state battery, adapting to the most modern technology available.

 

 
1.jpg

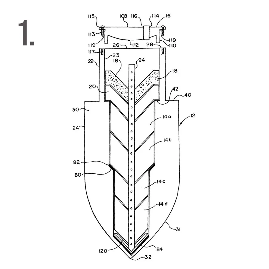
Pest Control System and Method - Our Docket No. A14 - 3073 ( “Original” Cont . Appl.) Serial No. 14/ 274,654 , Filed May 9, 2014 U.S. Pat. No. 9,433,201 , Issued Sept. 6, 2016.

All sixty (60) claims filed issued into patent.

 

 
2.jpg
 
 

Pest Control System and Method - Our Docket No. A15 - 3659 (First “ Improvement” Appl.) Serial No. 15/215,165 , Filed July 20 , 2016 U.S. Pat. No. 9,723, 829 , Issued Aug. 8, 2017,

All twenty (20) claims filed issued into patent; Covers, in part, “smart lid, ”cellulose and/or water wick, and stackable system cartridges (reusable or tamper - resistant)

Additional Patents and
Applications filed
in foreign offices

 

 
3.jpg
 
 

Pest Control Above - Ground System and Method - Our Docket No. A16 - 3793 ( Second “Improvement” Appl.) Serial No. 15/392,708 , Filed Dec. 28, 2016 U.S. Pat. No. 9 ,723,828, Issued Aug. 8, 2017.

All twenty (20) claims filed issued into patent; Covers, in part, “above - ground ”or wall - embedded pest control tower, for application on infested support members and landscape features.

Additional Patents and
Applications filed
in foreign offices

 

 
 
 

Pest Control System and Method - Our Docket No. A16 - 3793 (Third “Improvement” Appl. ) U.S. Patent No. 9,974,295, filed on July 7, 2017, issued on May 22, 2018 with 20 claims. Covers, in part, embodiment intended to be used in landscaping, spiked and weighted bait stations.

 

 
 
5.jpg
 
 

Pest Control System and Method - Our Docket No. A16 - 3794 ( PCT – Combined 1st and 2nd Improvements) Serial No. PCT/ US17/15264 , U.S. Patent No. 10,178,858, filed on May 21, 2018, issued on Jan. 15, 2019 with 20 claims.

Covers improvements of issued U.S. Patent Nos. 9 , 723 , 829 and 9 , 723 , 828 (smart lid , stackable cartridges , cellulose and / or water wicks with in cartridges, and “above - ground ” embodiments)

 
 
 

OUR SYSTEM

A system and method of monitoring and controlling cellulose-consuming pests in a predetermined location provides for the use of an assembly that has a main body with a cylindrical upper portion and a lower portion continuously co-axially formed with the upper portion. The lower portion is formed as blades meeting at a lowermost point and defining a sharp bottom point that helps penetrate the soil in the selected location. A plurality of cellulose- containing bait units are detachably fitted in the lower portion and the upper portion. The bait units fitted in the lower portion are retained by the blade portions, which engage radial slots of the bait units. A moisture-retaining member is positioned in the upper portion above an uppermost of the bait units. A removable cap frictionally fittingly engages with the upper portion. The cap has an opening allowing water to be poured into the main body to moisten the bait units and make them more attractive to foraging insects. If consumption of the cellulose material is detected, the bait units may be substituted with a bait material containing poisonous substance. The pests consume the bait and carry the poison to the colonies.


 
 
Termites.png

About Us - A Family Owned Business

My name is Marcus Azzarello and I’m the son of Joseph Azzarello, who has been a Board Certified Entomologist since 1976.  My family has owned and operated a Pest and Termite Control business in the New Orleans Metro Area for close to 50 years, (www.dialonepestcontrol.com).  We attribute our success to the use of applied Entomology and a comprehensive understanding of the target pest. With that being said, we have tested numerous subterranean termite baiting systems on the market today, but have never felt confident in the results. The problem is that the manufactures call it a bait system, but it's more like an interceptor, (termites locate by chance). The fact is , nothing attracts termites to the current stations in our market until now.

These devises will not only attract termites, but will also direct the termites to the active ingredient and monitor them from remote locations like a high tech security system.  We are now capable of exploiting the termite's weakness because we know their habits, their likes and dislikes.  As we indicated above, our products are and methods are fully covered under federal patent laws, both within the United States and Internationally under the PCT filing, (PCT app, Serial No. PCT/US2017/15264 filed January 27, 2017.